请选择
进入手机版
|
继续访问电脑版
设为首页
收藏本站
切换到宽版
社区
人才交流
观远BI合伙人计划
登录
问答
›
查看内容
返回列表
发布新帖
数据大屏订阅时报错问题
307
1
观小年
Lv.1
发表于 2025-11-26 10:05:51
|
查看全部
阅读模式
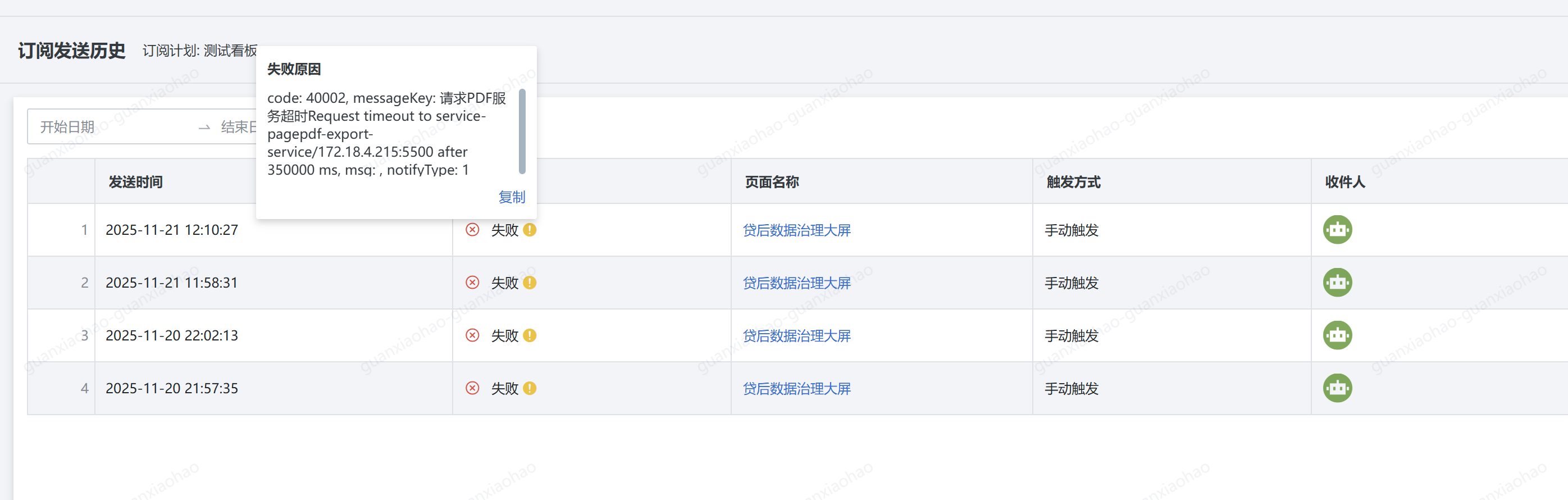
数据大屏订阅失败报错见附件,可能是什么原因导致?
快速回复
回复
举报
电梯直达
评论
1
观小年
楼主
Lv.1
发表于 2025-11-26 10:07:09
|
查看全部
目前不支持订阅数据大屏,后续会在订阅入口处屏蔽数据大屏资源,使之在订阅配置时无法选择;
回复
顶
举报
返回列表
发布新帖
回复
高级模式
B
Color
Image
Link
Quote
Code
Smilies
您需要登录后才可以回帖
登录
|
立即注册
本版积分规则
发表回复
回帖并转播
回帖后跳转到最后一页
观小年
Lv.1 注册会员
主题
14
回帖
20
积分
147
+ 关注
Ta的主页
微信服务号
联系我们
电话:400-880-0750
邮箱:hello@guandata.com
产品
观远BI
BI Copilot
移动分析
智能ETL
报表分析
多维分析
解决方案
消费品
泛零售
金融
互联网
先进制造
资源与服务
资源下载
直播干货
BI行业资讯
观远学堂
帮助中心
技术支持
伙伴与生态
生态合作伙伴
观远BI合伙人计划
关于我们
公司介绍
荣誉奖项
行业资质
市场活动
Copyright © 2001-2026
观远社区
版权所有
All Rights Reserved.
浙 ICP 备15006424号-3
去回复
去发帖
返回顶部
快速回复
返回顶部
返回列表